Monday May 2026

হটলাইন

কনটেন্টটি শেষ হাল-নাগাদ করা হয়েছে: সোমবার, ১৪ অক্টোবর, ২০২৪ এ ১০:৫৯ AM

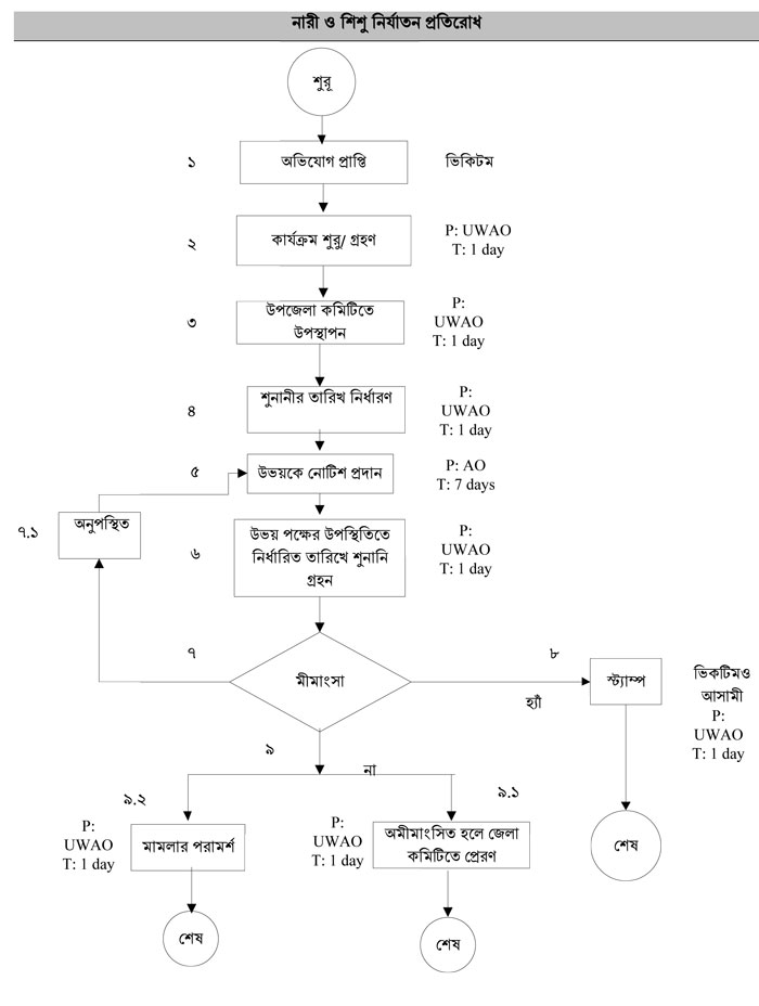
নারী-ও-শিশু-নির্যাতন-প্রতিরোধ

কন্টেন্ট: সেবা এবং ধাপ

ফাইল ১

এক্সেসিবিলিটি

স্ক্রিন রিডার ডাউনলোড করুন